Teléfono/WhatsApp/Wechat:0086-15922636221
Usted está aquí: Hogar » Productos » Equipos de protección del medio ambiente marino » Alarma de sentina de 15 ppm » Monitor de aceite en agua con alarma de sentina de 15 ppm

CATEGORIA DE PRODUCTO

loading

Compartir con:
facebook sharing button
twitter sharing button
line sharing button
wechat sharing button
linkedin sharing button
pinterest sharing button
sharethis sharing button

Monitor de aceite en agua con alarma de sentina de 15 ppm

El monitor de aceite en agua con alarma de sentina de 15 ppm se utiliza para detectar y medir el contenido de aceite en el agua. OCM utiliza una variedad de tecnologías de medición para adaptarse a diferentes aplicaciones, Por ejemplo, para la detección continua de petróleo y aguas residuales en la sentina de un barco, y el monitoreo de aguas residuales aceitosas en los campos de la industria química, el petróleo y la protección del medio ambiente.
Cantidad:
Monitor de aceite en agua con alarma de sentina de 15 ppm
Se puede mostrar la alarma de sentina de 15 ppm  medición  resultado,  colocar  15 ppm  advertencia  valor,  
producción  cosa análoga  señal  de  aguas residuales  estándar  descargar  control  total  cantidad  a  medición  valor,  y proporcionar  estos  servicios  incluido  datos  imprimir,  almacenar  y  consulta  de  histórico  datos  etc.
Además, 15 ppm  sentina  agua  alarma  instrumento  poder  registro  fecha,  tiempo,  alarmante  estado  y  correr  estado.
Alarma de sentina de 15 ppm (5)Alarma de sentina de 15 ppm (15)99ppm Alarma de sentina 1

Actuación  parámetros      
Medición  rango:        30 ppm (cuando  el  Medido  muestra  agua  concentración  es  encima  40 ppm,  digital  tubo  comienza  a  espectáculo  80 ppm).
Medición  precisión:                ±5 ppm
Alarma  indicación:                          dos  emitiendo  CONDUJO
Concentración  valor  mostrar:        3 bits  CONDUJO
Alarma  punto:                                  15 ppm  
Carga  de  contacto  de  alarma  relé:   5A/220V
Producción  cosa análoga  señal:                    4~20mA  o  0~10V  corriente continua      
Alimentar  líquido  Presión:                      0,01~0,5MPa
Peso:                                      acerca de  13,5 kilos
Fuerza  suministrar:                                  CA220±10%  50Hz±5%
Fuerza  consumo:                      20W
Salvaguardia  calificación:                        IP45  
Operacional  ambiente:      0 ~ 55 ℃,  relative  humedad  95~100%,  normal
 
Estructura
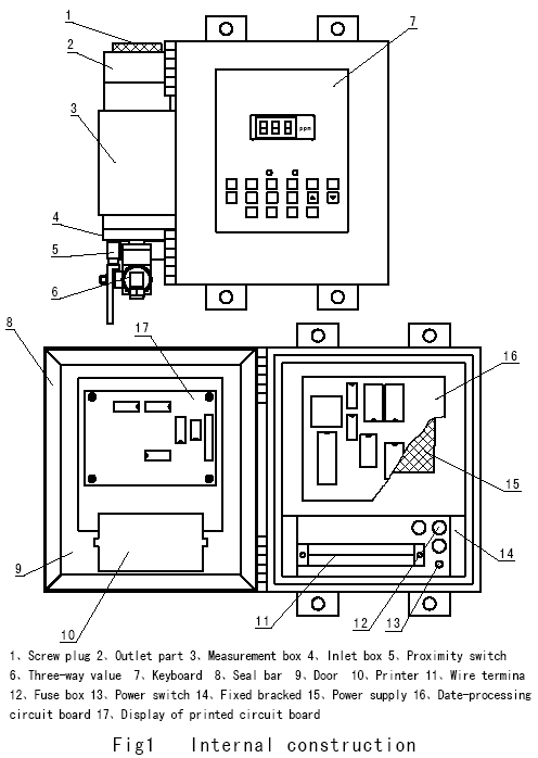
Adentro  detallado  estructura  de monitoreo de aceite en agua de 15 ppm
alarma de sentina de 15ppm

Anterior: 
Siguiente: 
Peticiones sobre producto

Navegación

Lista de productos

Navegación

Contáctenos

Teléfono: 0086-023-62984891
Fax: 0086-023-62613622
WhatsApp/mafia:0086 15922636221
Correo electrónico: master@hy-industry.com
Skype: Hangyumarine
Copyright © 2020 Reuniendo equipos marinos Co., Ltd. Leadong